For an engineer who is new to designing multi-storey buildings it is important that they follow a logical sequence through the various stages of the design process. Six steps that define this sequence are described below. Rules of thumb are included within each step to help the designer quickly and efficiently arrive at a solution that is sensible for a given set of constraints. In addition, it is important for the designer to understand some overarching principles of good design – so that the result is not only sensible but is also ‘good’.

Stages of a project

The stages of a construction project are presented in ISE publication ‘Structural design – the engineer’s role’[1] which may be broadly summarised as follows:

  • Project formulation - What it’s for, why is it being proposed, where is it, etc.
  • Assembling the data and developing the brief - Understanding the site and context.
  • Scheme design - Looking at and developing options.
  • Detailed design - Of the various components and elements.
  • Information for construction - Drawings, specifications.
  • Construction.


Many of these stages include aspects of engineering design. A characteristic of steel framed construction is that the constituent parts of the structure are manufactured off-site, with all the quality and speed-on-site benefits that are associated with such a form of construction. An implication of this, however, is that the design must be substantially complete before steelwork fabrication can begin. It is therefore important that the designer follows a logical sequence, as going back and revisiting earlier design decisions, once other parties involved have moved on to designing other parts of the building or manufacturing components, can be disproportionately expensive.

Basic principles of good design

Some basic choices may have a significant impact on the ease, time and cost of both the fabrication and construction of a steel framed multi-storey building. Keeping fabrication and construction in mind from the start will lead to the best possible solution. The designer should also avoid over-specification, a trivial example being that corrosion protection is not needed when steel components are used in many internal environments.

Keep it simple and familiar

Steel is a versatile material. It can be used for single storey buildings, for which its efficiency has helped it reach over 95% market share, and it can be used for high rise buildings, for which its high strength to weight ratio makes it the only practical choice. Because of the different ways that steel beams can be configured, steel structures can be used to create flooring solutions that are competitive for spans ranging from 6 m to over 20 m. When choosing between these steel solutions, a basic principle for the designer should always be to keep it simple, and use solutions that are familiar not only to him/her as the designer, but will also be familiar to the fabricator and erector. Complexity and lack of familiarity are more likely to result in misunderstandings or mistakes, and may cost more. Exotic solutions should only be used for exotic applications that justify the use of non-standard and unfamiliar solutions because of the other attributes they bring.

Lowest embodied carbon

Whilst there may be some arguments for having a heavier section, over design and over specification should be avoided. The lowest embodied carbon solution should be chosen whilst considering any robustness, temporary works and fire protection requirements. However, care should be taken as the lowest weight solutions may require local reinforcement.

Standardise

Beam to beam connections - Typical partial depth end plate connection between beams
Beam to beam connections - Typical partial depth end plate connection between beams
Closely related to familiarity is standardisation. Although the use of standard member sizes is less important than it used to be, given modern ways of modelling and fabrication, there may still be benefit in reducing the number of different member sizes used on a project. This desire for standardisation goes right down to the steel grade and bolt grades and sizes.

Rolled sections should only be specified in grade S355 steel (or higher grade) steel to ensure availability as well as performance benefits. However, for the fittings (plates used for connections etc.), many steelwork contractors prefer grade S275 steel. Again, a key is to avoid mixing steel grades for components that look otherwise identical as this facilitates quality assurance.

One of the main areas where standardisation is beneficial is the joints (or connections as they are traditionally termed in the UK). The use of standard joints means the design process is greatly simplified, for example because resistances are tabulated or software can be used more effectively, and the detailing will be acceptable to those who will fabricate and erect the steelwork – standardisation, simplicity, familiarity.

Standard beam-to-column and beam-to-beam simple joints adopt one of the three following options, each with its own particular advantages and areas where it is less appropriate:

  • Fin plates – particularly good from an erection point of view.
  • Partial depth end plates – better than fin plates for connections to column webs.
  • Full depth end plates – particularly good for temporary stability and offer significantly greater tying resistance (for robustness) than partial depth plates.


Double angle cleats are no longer commonly used for simple connections in the UK.

Standard simple joints using end plates and fin plates
Standard simple joints using end plates and fin plates
Standard joints use standard bolts (typically either M20 or M24 Property Class 8.8), and standard plate thicknesses (10, 12 and 15 mm). Welded joints are normally restricted to the fabrication shop, where conditions are much more suitable. Bolted site joints have the additional benefit of facilitating deconstruction.

When detailing joints some other rules of thumb should be followed:

  • avoid placing joints in highly stressed regions, so that the joints remain simple (thinner connections and less requirement for localised stiffening).
  • put site joints (splices) in an accessible place. Placing splices 1200 mm above floors will avoid erectors bending down (good from a health & safety point of view), whereas placing them at the location of the intersection between the column and the beam will minimise the bending moments that will have to be resisted. Placing them 600 mm above floor level may hence be a good compromise.

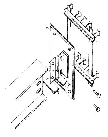
Pay attention to interfaces

Adjustable bracket for a steel beam to concrete wall connection
Adjustable bracket for a steel beam to concrete wall connection
The steel frame itself represents only a small part of the overall cost of a building. However, how the frame is designed and detailed may affect the cost of more expensive components it interfaces with. Interfaces is an area where attention to detail can pay real dividends. There are basically two things to consider at an interface:

  • The different components/materials either side of an interface may need to satisfy different tolerances. These tolerances may be a function of what can realistically be achieved and/or what is necessary – for example it is not practical to cast a concrete foundation to within 1 mm of level, but cladding may need to be placed to within 1 mm (and is able to achieve this) to avoid appearance being compromised.
  • An interface between components/materials is often also an interface between design responsibilities. Clear information transfer is needed so the designer at each side of the interface understands, and responds to, the requirements of the other side. The use of a single model, shared between the different design teams involved in a project, facilitates this information transfer. One such interface is the column base interface where the steelwork design and the foundation design are performed by different parties.


Column base interface
Column base interface
When different tolerances need to be accommodated it is much better to achieve this through design and detailing than through remedial work on site. So, for example, when steelwork is to be connected to a concrete core, the use of brackets that permit adjustments in two orthogonal directions (through the use of slotted holes) should be envisaged from the outset.

The design process

Six steps are chosen to split the design process into a logical sequence from early scheme design consideration through to detailed design. They cover:

The design process
The design process

Step 1: Initial design considerations

Building specific requirements

Building shape dictated by location and architecture<br>The Walbrook Building, London<br>(Video case study)
Building shape dictated by location and architecture
The Walbrook Building, London
(Video case study)
The basic building shape will normally be chosen, or at least heavily influenced, by other members of the design team. It will often be dictated by site restrictions, be they physical or regulatory such as planning restrictions. Before developing this basic shape into a design the engineer should make sure he/she is aware of any project specific requirements.

Ground conditions may have a fundamental impact on a number of decisions:

  • Poor ground conditions may favour a piled foundation which could be more expensive than a shallow foundation. The wider spacing of the foundations could dictate in a longer spanning structural frame solution.
  • If there are any existing foundations on a brownfield site, or underground services to be avoided, these may affect column positions (possibly resulting in more widely spaced columns, or an irregular grid pattern).


It is also worth noting that steel piled foundations (with their number minimised by adopting a long spanning structural frame solution), can easily be removed at the end of building life, avoiding the knock-on effects often found on redevelopment sites and improving the overall ‘sustainability’ of the solution.

Other aspects of a given site that may favour a certain building frame solution include any access and height restrictions. In a congested city centre using prefabricated elements may be attractive, to minimise the number of vehicles needed to bring all the materials to site. If access routes are of limited width, or have certain other particular characteristics, these may impact on the size of components, or sub structures, that can be delivered. If there is a restriction on the overall height of a building it may favour the use of shallow floor solutions, even though their spanning ability is less than other steel options, to minimise floor depth and therefore maximise the number of floors (and lettable floor space) that can be accommodated within the overall height.

Congested city centre location<br>Park House, London
Congested city centre location
Park_House,_London
In addition to any peculiarities of a given site, there may be particular requirements for the building and its use. For some types of use there are specific, published requirements, such as the Building Bulletins for Education buildings and the Health Technical Memoranda for Healthcare buildings. Particular requirements may include:

  • a naturally ventilated solution may be required by the client or the architect.
  • the service requirements are dependent on the building use, e.g. hospitals are highly serviced.
  • different uses impose different requirements for the dynamic behaviour of floors, as what is acceptable in terms of ‘bounciness’ depends on what a room is to be used for.
  • the effective planning of the location of lifts, stairs, toilets and vertical distribution of services. These are essential to the operational performance of a building, and also play a key role in the structural performance (stability) of the building frame.


If the building is speculative the developer may want maximum flexibility for floor use, services etc. BS EN 1991-1-1 [2] presents minimum imposed floor loads for different building uses. For offices, the imposed loading is typically 3 kN/m2. In addition, up to 1 kN/m2 may be added to cover loading from movable partitions. For storage areas, a higher value of 5 kN/m2 may be used. Often, an imposed load of 5 kN/m2 is specified in speculative offices to allow for a wide range of client uses. As well as the self-weight of the floors, an additional load of 0.7 kN/m2 should be considered for raised floors, ceilings and building services equipment.

Number of floors

To achieve maximum lettable floor space the design should balance the number of floors against floor-to-floor height, paying attention to the intended building use.

The target floor to floor height is based on a floor to ceiling height of 2.5 m to 2.7 m for speculative offices, or 3 m for more prestige applications, plus the floor depth including services. The following target floor to floor depths as shown in the table below should be considered at the concept design stage:

Typical floor-to-floor heights

Prestige office

4 - 4.2 m

Speculative office

3.6 - 4.0 m

Renovation project

3.5 - 3.9 m


Shallow floor systems can be helpful for a designer trying to achieve the right balance. Although they tend to have a higher cost per unit area, the reduced floor depth may provide the designer with:

  • more flexibility to achieve the best compromise between floor-to-floor height, number of floors, and overall building height.
  • a means to reduce building envelope area/cost.
  • a means of reducing operational carbon by reducing heat loss through the envelope.


The weight and cost of a structural frame per unit of floor area (gross internal area) increases with height, because the wind loading increases nonlinearly with height and this has a significant impact on the design of the frame. The increasing cost per square metre is shown for a range of building heights in the cost table below.

Table of indicative cost ranges (Q3, 2025) based on Gross Internal Floor Area (GIFA)

Type

GIFA Rate (£/m2)
BCIS Index 100

Frame

Low rise, short spans, repetitive grid / sections, easy access (55kg/m2 steelwork)

158 - 191

High rise, long spans, easy access, repetitive grid (90kg/m2 steelwork)

266 - 299

High rise, long spans, complex access, irregular grid, complex elements (110kg/m2 steelwork)

302 - 357

Floor

Composite floors, metal decking and lightweight concrete topping

90 - 140

Hollowcore precast concrete composite floor with concrete topping

137 - 193

Fire protection

Factory applied intumescent (60 minutes resistance)

29 - 40

Factory applied intumescent (90 minutes resistance)

36 -58

Portal frames

Large span single storey building with low eaves (6 - 8 m), 35kg/m2 steelwork

114 - 149

Large span single storey building with high eaves (10 - 13 m), 45kg/m2 steelwork

139 - 178


Notes:

  • ‘Easy access’ is for generally unconfined and regular sites where logistics and access arrangements for delivery and erection are unhindered and straightforward.
  • ‘Complex access’ is for confined and irregular site plans commonly found in city centre locations with demanding logistics and access requirements.


Stability system

Exoskeleton providing stability to the building of the Broadgate Tower, Bishopsgate London
Exoskeleton providing stability to the building of the Broadgate Tower, Bishopsgate London
The resistance of a steel frame against horizontal loading can be achieved in a number of ways. The most appropriate choice depends on the scale of building:

  • for low rise buildings steel bracing is normally used.
  • for medium rise buildings (5 to 15 storeys) either concrete or braced steel cores are used.
  • for high rise buildings the use of a concrete core facilitates the construction process as the core assures stability as steelwork erection progresses up the building, tied back to the core. 'Megabracing' on exterior faces, an ‘exoskeleton’, may also be used but substantial temporary works are likely to be needed as the final stability system is only complete after a significant number of floors are erected.


It is also possible to provide lateral stability by using a continuous frame – one where there is moment continuity between the beams and columns to limit the sway of the frame. However, whilst such a solution would enable, for example, full glazed walls, the connection detailing will be significantly more onerous, as will be the design. Unless there are specific building requirements that cannot be satisfied using an alternative, such a solution will be a disproportionately expensive way of assuring frame stability.

Whatever assures the stability of a frame needs to be able to resist lateral loads applied in two directions, plus a torque. In a braced frame building, the resistance to horizontal forces is provided by two orthogonal bracing systems:


Vertical bracing (in vertical planes between lines of columns) provides load paths to transfer horizontal forces to ground level and provide a stiff resistance against overall sway. As a minimum, three vertical planes of bracing are needed (at least one plane in each orthogonal direction), to provide resistance in both directions in plan and to provide resistance to torsion about a vertical axis. In practice, more than three are usually provided, for example in the locations shown diagrammatically in the figure right.


At each floor level, bracing in a horizontal plane, (generally provided by floor plate action), provides a load path to transfer the horizontal forces (mainly from the perimeter columns, due to wind pressure on the cladding) to the planes of vertical bracing.

At roof level, a truss wind girder may be used to provide a horizontal bracing system, if there is no slab. See figure left.

Step 2: Choice of grids

Having recognised any building specific requirements, decided on the most appropriate number of floors and, in general terms, how the frame will be stabilised against horizontal loading, the designer should start to consider in more detail how the frame will be laid out. The structural grid is defined principally by a regular spacing of columns, with the primary beams spanning between columns, secondary beams spanning between the primary beams, and floor slabs spanning between the secondary beams. Wherever possible the beams are laid out in an orthogonal arrangement to provide rectangular floor plates as this arrangement enables simple orthogonal connection details between beams and columns to be adopted.

Floor grids define the spacing of the columns in orthogonal directions, which are influenced by:

  • The planning grid (normally based on units of 300 mm but more typically multiples of 0.6, 1.2 or 1.5 m).
  • The column spacing along the façades, depending on the façades material (typically 5.4 to 7.5 m).
  • The use of the internal space, i.e. for offices or open plan space.
  • The requirements for building service distribution (from the building core).


Beam spans typically fall into the range of 6 m to 16 m, with over 12 m spans being very common on commercial office schemes. Slabs typically span between 3 m and 6 m. The table below shows typical spans for various commonly used floor systems.

Typical spans for various building floor systems
Typical spans for various building floor systems
Although opting for a long span solution will increase internal flexibility and maximise the lettable floor space, it should be recognised that spanning ability is only one of the attributes of a given flooring solution. They are also differentiated in terms of fabrication cost, ease of erection, ease of service integration, cost of fire protection, required structural depth for a given span. A designer should decide on the best overall compromise for a given application, remembering the basic mantra of standardisation, simplicity, familiarity. The table shows the relative merits for common floor systems in multi-storey buildings.
Relative merits of floor systems
Relative merits of floor systems
For a building where horizontal services are to be accommodated and integrated within the structural floor depth, deep primary beams with holes in their webs (to allow the services to pass through), combined with shallow and therefore short spanning secondary beams is a common choice. Alternatively one may use long secondary and short primary beams, chosen so they are all the same depth.

Two of the more common composite floor systems are shown below. The benefits of composite slab floors using downstand beams, shallow floors including precast slabs, together with the choice of long span beams should be considered holistically and in the context of the specific project under development.


A broad statement taken from the British Council for Offices (BCO) Guide to Specification[3] and SCI P365 states that office buildings with columns at 7.5 to 9 m centres tend to be most economical. More specifically, cost comparison studies have shown that for 3 to 4 storey buildings a composite beam and slab option is likely to be the most economical where the optimum grid size for this type of floor system is typically 7.5 m x 9.0 m. For a typical 8 storey city centre office building, cellular beams and composite slabs were shown to be the most economical. For this size of building a typical optimum grid size of 7.5 m x 15.0 m could be most appropriate.

Step 3: Preliminary sizing

Once the grids are established it is possible to estimate preliminary sizes of the beams using some rules of thumb for span to depth ratios.

An estimation of the preliminary sizes of the beams using some rules of thumb for span to depth ratios for the floor systems mentioned above is presented in the table.

Span to depth ratios for different beam solutions

Non-composite primary beams

Floor = span/20
Roof = span/25

Non-composite secondary beams

Floor = span/25
Roof = span/30

Composite beams

Span/16 to span/18
(note depth is steel beam plus slab)


The slabs that span between downstand beams are typically 130 to 150 mm deep, using C30/37 or LC30/33 concrete. When shallow floor solutions are used the structural floor depth, including the integrated beams, is typically 300 to 400 mm. Typical structural depths (floor to ceiling) are shown in the table.

Typical structural depths (floor to ceiling)

Flooring system

Target floor depth (mm)

Composite beam construction

800 – 1,200

Cellular beams (with service integration)  

800 – 1,100

Downstand beams with precast concrete floor slabs

1,200 – 1,450

Shallow floor or integrated beams

600 – 800


Columns

The columns in braced frame multi-storey buildings are usually hot rolled UC sections. Rectangular or circular hollow sections can also be used but connections become more complex than when an open cross section is adopted. Typical section sizes for UC columns are given in the table below. The columns are normally continuous over 2 or 3 storeys and the beams discontinuous where they meet the columns.

Typical column sizes for small and medium span composite floors

Number of floors supported by column section

Universal Column (UC) serial size

1

152

2 - 4

203

3 - 8

254

5 - 12

305

10 - 40

356


Note that small and medium span composite floors generally result in the same serial size for the columns, but the column weight will be greater for the medium spans.

Bracing

Braced frame multi-storey building using X bracing<br>Trinity Square, Gateshead<br>
''(Image courtesy of William Hare Ltd.)''
Braced frame multi-storey building using X bracing
Trinity Square, Gateshead
(Image courtesy of William Hare Ltd.)
Steel works well in tension, but only works well in compression if buckling is prevented. So when the bracing is configured so that it only needs to resist tension (when X-bracing is present within a bay, one of the members will be in tension when the wind blows one way, and the other in tension when it blows in the opposite direction) it is possible to use cross-flats (flat steel plates as members). If the bracing must work in compression for example, hollow sections may be used.

There are other criteria to consider when choosing the form of bracing, beyond just structural efficiency. Cross-flats may be useful because they can be hidden within a wall cavity. K-bracing (rather than X bracing) leaves room for doorways, although it needs to be detailed so that it doesn’t pick up vertical loads from the floors (for which it has not been designed).

Weight of the steel structure

Preliminary sizing considerations should result in a weight of steel similar to that given in the table below. However, there may be project specific considerations which could affect the values given in the table which are based on generalised situations.

Approximate steel quantities

Form of Building

'''Approximate steel quantities

Beams

Columns

Bracing

Total

3 or 4 storey building of rectangular form

25–30

8–10

2–3

35–40

6–8 storey building of rectangular form

25–30

12–15

3–5

40–50

8–10 storey building with long spans

35–40

12–15

3–5

50–60

20 storey building with long spans and a concrete core

40–50

10–13

1–2

50–65

Step 4: Analysis

Determining the loads

Before the frame can be analysed and the structural members designed, it is necessary to determine the magnitude of loads and other actions such as thermal movements, which may result in stresses in the structure. The main load types are the self-weight of the structure (and non-structural components), imposed floor loadings, environmental loading including wind and snow, and induced additional loads caused by frame imperfections and sway.

Typical load magnitudes used in building design

Loading type

Area loading (kN/m2)

Permanent loads

Steelwork

0.35 – 0.7

Composite slabs

1.9 – 3.0

Precast slabs

3.0 – 4.5

Partitions

1.0

Services

0.25

Ceiling

0.1

Imposed loads

Roof

0.6

Floors

2.5 – 5.0

Wind loads

0.8 – 1.5

Snow loads

0.6


The structure will be subject to a number of realistic combinations of these load types (they won’t all be at their maximum values simultaneously), considering a Limit State Design philosophy where the frame and its members are designed to satisfy different ultimate and serviceability limit states. The combinations, and different limit states, are defined in the relevant Eurocodes.

Determining the internal moments and forces

Once the loads and preliminary member sizes have been identified, the structural analysis can be carried out. This process results in calculation of the internal moments and forces the frame members must be able to resist (against which the preliminary sizes can be checked and the design refined).

The vast majority of steel frames are designed as ‘simple’. This means that the beams and columns are assumed to behave as disconnected members (there is no moment continuity between them). A simple frame does not in itself offer stability against lateral loads. Bracing, or a core, typically fulfils this purpose. Assuming simple construction offers a number of benefits and results in certain characteristics of the frame:

  • It greatly simplifies analysis, with easy derivation of moments and forces for a structure that is ‘determinate’ (solvable using simple calculations). The stiffness of one element does not affect the moments and forces that it, and its neighbours, are subject to. The designer should ensure that all element ends are ‘released’ in the analysis model to reflect this ‘simple’ philosophy.
  • Columns only experience axial force and nominal bending moments due to the eccentricity of beam connections.
  • The resulting distribution of moments and forces means that beams will tend to be bigger and columns smaller than when continuous construction is adopted.
  • Joints are less complex, and will tend to use less material (thinner plates, no stiffening or need for haunches). But the designer should be aware of the need to design joints for tying forces to prevent progressive collapse (make the structure ‘robust’). Simple joints are assumed not to transfer moment, but if plates are thick enough to provide adequate tying (axial resistance) will they be thin enough to bend? The behaviour of what is actually built must always reflect what was assumed in the design. If thick plates are used to achieve tying resistance, they may transfer moments into the columns for which those members have not been designed.
  • Composite beams are well suited to simple construction because they work well in sagging (relying on the concrete slab in compression), but not so well in hogging (slab in tension).
  • If trusses are used, it is important to design the members to work with ‘simple’ joints between them. Trusses that require moment transfer between members (internals, chords) are difficult to detail and expensive to fabricate (the member size may be governed by the moment connections it can accommodate). This can cause particular problems in the situation where the frame designer does not also detail the joints (as if often the case in the UK) – the frame designer specifies the sizes of the truss members, but a moment connection with the required structural capacity cannot be designed.


Model of a multi-storey building<br>''(Image courtesy of Trimble Solutions (UK) Ltd.)''
Model of a multi-storey building
(Image courtesy of Trimble Solutions (UK) Ltd.)
If, as an alternative to simple construction, a continuous frame is chosen:

  • There will be interaction between elements making the frame ‘indeterminate’ (solution requiring structural analysis using computational software). The relative stiffness of the members affects the distribution of moments and forces around the frame (stiffer the element the greater force/moment that is attracted to it). As there is moment continuity between the members, bracing will not be needed.
  • This interaction means that iteration will be needed to refine member sizes and as a result will require the other members at the connection to be re-designed as member bending moments are redistributed accordingly to their relative stiffness.
  • Different types of analysis may be envisaged. Typically an elastic analysis is adopted, whereby all the frame members are assumed to retain their initial elastic stiffness and moments and forces are distributed around the frame according to these stiffnesses. A plastic analysis recognises that some members (or joints) may be sized so that they reach their resistance limit, at which point they maintain that level of load but loose stiffness so that any additional load is carried by adjoining members.

Step 5: Element design

Having determined the moments and forces in the frame members and joints it is possible to move on to detailed design. As noted above, when a frame is continuous it may be necessary to undertake some iteration because the size of the members affects the moments and forces that are attracted to themselves and their neighbours.

Steel member design is based on the requirements given in BS EN 1993-1-1[4]. Composite member design is based on those given in BS EN 1994-1-1[5]. The overall process in steel member design for the ultimate limit state (ULS) involves:


Additionally, members should be designed for any relevant serviceability limit states (SLS), commonly these relate to deformations (deflections), and response to dynamic loading. For most multi-storey commercial buildings, straightforward steel construction will meet the required vibration performance criteria without modification. For more vibration sensitive applications, such as hospital operating theatre floors, steel’s advantages can be captured with additional stiffening applied to the steel frame if required. Long-span applications, for which steel is the only option, have been found to offer very good vibration damping, despite common preconceptions that damping of composite floors is lower than that of concrete structures. The greater mass of the long-span sections which participate in any motion reduces the magnitude of the vibration response.

Member design is often completed using software, or by reference to the resistance tables in the 'Blue Book' (SCI P363). An extract from the Blue Book presenting the buckling resistance moment for UBs is shown below.

The frame designer must remember to consider the various stages of construction as well as the building in its final state, and the various ULS and SLS checks related to each. Designing the structure to be strong and stiff (and potentially ductile) enough to satisfy the different loading and partial completion scenarios will avoid the need for potentially difficult and costly temporary works.

Step 6: Other checks

In addition to checking the frame members for gravity, imposed and wind loads, some other verifications must also be made as they could affect the final size of the members and joints. These other checks include, but are not restricted to, checking for sway sensitivity, fire performance, robustness and acoustics performance.

Sway sensitivity

Even simple braced frames must be checked for sway sensitivity, as bracing would only prevent all sway if it were infinitely stiff (which clearly nothing is). If the frame proves to be sway sensitive, options (the viability of which will depend on the given building) to design for this sensitivity include:

  • Increase member sizes so the frame sways less under horizontal loading.
    • For a simple frame this means the size of the bracing.
    • For a continuous frame the size of the beams and columns affects the frame sway.
    • This will not be a viable option for high rise buildings.
  • Amplify the first order moments and forces to allow for the secondary (second order) effects that arise as the frame sways.
  • Carry out a second order analysis to explicitly allow for the secondary effects.


In the braced frame shown in the figure, the bracing extends due to axial tension, allowing the frame to move laterally, and producing an inclination in the columns, as shown. As the columns are now inclined, additional horizontal components of force must be resisted by the structure.

Braced frame before and after deflecting


The horizontal components of the forces in the columns are proportional to the vertical loads, which demonstrates that frame stability is linked to vertical loads.

BS EN 1993-1-1[4], 5.3.2 states that, for frames that are sensitive to buckling, two types of imperfection should be considered:


Fire

Thin film intumescent coating of floor beams<br> ''(Image courtesy of Sherwin-Williams Protective and Marine Coatings)''
Thin film intumescent coating of floor beams
(Image courtesy of Sherwin-Williams Protective and Marine Coatings)
One of the limit states that a designer must consider is fire. Steel loses strength as it is heated (it will have lost approximately 50% of its room temperature strength at 600oC). In the UK the most common way of dealing with fire is to protect the members – provide insulation so that the steel temperature remains relatively low. Alternatively a fire engineering approach is possible, whereby the members are designed to resist the loads associated with the fire limit state with a reduced steel strength (as a function of the anticipated temperature).

The figure shows steel beams protected from fire by an off-site applied thin film intumescent coating.

Robustness

robustness of a building frame is defined as:

“the ability of a structure to withstand events like fire, explosions, impact or the consequences of human error, without being damaged to an extent disproportionate to the original cause.”

This requirement to design and construct a building to have robustness is established from BS EN 1990 [6]. Details of how the requirement should be met are given in BS EN 1991-1-7[7] with practical guidance being provided by the Institution of Structural Engineers in their publication ‘A practical guide to robustness and disproportionate collapse in buildings’[8]. and SCI's P391 'Structural Robustness of Steel Framed Buildings'.

Acoustic performance

It may be necessary to consider the acoustic performance of the floor and walls, against both impact and airborne sound. This is particularly important for residential, school and hospital buildings. Sound insulation for both direct and flanking (at junctions) sound is controlled by the following three characteristics:


This means that the construction details of the floors, walls and their junctions in a building are the key to its acoustic performance. Floating floors and suspended ceilings should be considered – it is not simply a question of adding mass.

In unusual cases there may be other checks to consider, for instance those considering the impact of thermal effects on the frame.

Further reading

References

  1. Structural design – the engineer’s role, September 2011, The Institution of Structural Engineers
  2. BS EN 1991-1-1: 2002 Eurocode 1. Actions on structures. General actions. Densities, self-weight, imposed loads for buildings, BSI
  3. British Council for Offices Guide to Specification, 2019, BCO
  4. BS EN 1993-1-1:2005+A1:2014, Eurocode 3: Design of steel structures. General rules and rules for buildings, BSI
  5. BS EN 1994-1-1: 2004 Eurocode 4. Design of composite steel and concrete structures. General rules and rules for buildings. BSI
  6. BS EN 1990:2002+A1:2005. Eurocode: Basis of structural design. BSI
  7. BS EN 1991-1-7:2006+A1:2014. Eurocode 1: Actions on structures. General actions. Accidental actions. BSI
  8. Practical guide to structural robustness and disproportionate collapse in buildings, October 2010. The Institution of Structural Engineers