Aesthetic finish on thin film intumescent coatings on hollow and open sections <br>''(Image courtesy of Sherwin-Williams Protective and Marine Coatings)''
Aesthetic finish on thin film intumescent coatings on hollow and open sections
(Image courtesy of Sherwin-Williams Protective and Marine Coatings)
Structural hollow sections provide architects and engineers with aesthetically pleasing and structurally efficient solutions. Hollow sections have a constant external dimension for all weights of a given size, which enables them to achieve standardisation of architectural and structural details throughout the full height of the building. The uniformity of shape and properties means that they more are efficient in certain design conditions than open sections. Fire resistance in structural hollow sections can be achieved by the use of:


This article examines all three approaches.

Fire protecting structural hollow sections

Preformed casings using thick film epoxy intumescents<br>''(Image courtesy of Nuvia)''
Preformed casings using thick film epoxy intumescents
(Image courtesy of Nuvia)
The most common form of fire protection for structural hollow sections is thin film intumescent coatings, although thick film epoxy intumescents in the form of preformed casings have also been used in external situations or internal situations where atmospheric conditions are too severe or concerns about damage are too great to allow the use of thin film coatings. The thickness of structural fire protection is usually based on the section factor of the hollow section. Typically the thickness of thin film intumescent coating required for a hollow section is greater than for an open column section with the same resistance. The thicker coating is balanced by the reduced surface area of a hollow section, compared to an open profile.

Thin film intumescent coating comparison for similar open and hollow sections

305 x 305 UC 97
Grade S355

244.5 x 14.2 CHS
Grade S355

Length (m)

4

4

Buckling capacity (kN)

3220

3190

Section factor, 4-sided exposure (m-1)

146

75

Thickness of typical on-site applied thin film intumescent coating (µm)
60 minutes fire resistance

457a

599a

Thickness of typical on-site applied thin film intumescent coating (µm)
90 minutes fire resistance

1418a

2628a

Surface area (m2)

7.16

3.07

a Data taken as the average of a number of different products in February 2013

Reducing thin film intumescent coating thickness on hollow sections by design

The thickness of thin film intumescent coatings on structural hollow section columns is usually based on a limiting temperature and the section factor. However, if it can be shown that the column is not fully loaded, the limiting temperature may be increased and the coating thickness reduced. Most manufacturers of have data to support this and will supply the required thicknesses if an alternative limiting temperature is given. For example, take the 244.5 x 14.2 CHS described above. For 90 minutes fire resistance, using a typical limiting temperature of 550°C, the coating thickness, averaged over a range of products, is 2628µm. However, if the column is loaded to 83% in the normal condition (a load ratio of 0.5 in the fire condition) of its capacity then, according to BS 5950 Part 8[1] the limiting temperature increases considerably. This can result in a significant reduction in the required coating thickness.

This approach can be extended by examining the potential for redesigning the column. Take again the 244.5 x 14.2 CHS and assume it to be fully loaded with a coating thickness of 2628µm. The column can be replaced by a 244.5 x 16 CHS, which keeps the footprint constant while decreasing the section factor and increasing the axial resistance. The change has the effect of decreasing the section factor to 65m-1 and, over a 4m length, increasing the axial resistance from 3190kN to 3560kN. The impact of increasing the load carrying capacity is to reduce the load ratio and increase the limiting temperature by over 40°C. Combined, this decrease in section factor and increase in limiting temperature reduces the coating thickness of 2628µm to around 1300µm.

Similar calculations on limiting temperatures can be carried out for columns using BS EN 1993-1-2[2] (called critical temperature,?a,cr, in that standard). These are provided in terms of what is called the utilization factor, µ0, (the Eurocode equivalent of load ratio).

In general, the smaller the section (and usually therefore, the higher the section factor and the thicker the coating) and the longer the fire resistance period required, the more likely it is that considering a heavier hollow section of the same size will be worthwhile. It will however be a balance between a number of factors. The most important of these is the relationship between the cost of application of the intumescent coating and the added cost of the steel. It is worth being aware also that there is a maximum coating thickness that can be applied in a single application and that cost of application of intumescent coatings is a function of the number of coats required. It follows that in some instances a relatively small decrease in coating thickness can reduce the number of applications required and lead to a significant reduction in cost.

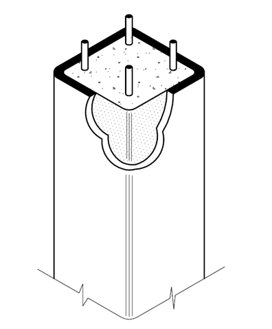
Concrete filled and reinforced structural hollow sections

Schematic of a reinforced, concrete filled hollow section
Schematic of a reinforced, concrete filled hollow section
By filling hollow sections with concrete, a composite section is produced which will increase the section’s room temperature load carrying capacity, whilst retaining all the advantageous features of the basic unfilled section. Alternatively, for the same original load capacity, it permits smaller composite sections to be used. Any reduction in section size also gives advantages in subsequent construction processes, including a reduced surface area for painting and a reduced footprint (and increased lettable area). Filled hollow sections will need to contain reinforcement in the mix in order to minimise column dimensions and to sustain the required fire limit state design loads for fire resistance periods of 60 minutes or more.

Design guidance and software (Firesoft) for the design of reinforced, concrete filled hollow sections in fire is available. The software is based on the European code for composite construction for ambient conditions, BS EN 1994-1-1[3], the main difference between ambient and fire designs being the modifications of mechanical properties at elevated temperatures for the fire conditions.

Concrete filled hollow sections with external fire protection

Reinforced concrete filled hollow sections rarely require external fire protection. If the concrete is not reinforced, protection may be needed for fire resistance periods of 60 minutes and longer. The following simplified method may be adopted to determine the required for protection thickness:

  1. Determine the resistance of the concrete filled column at normal (ambient temperature), according to BS EN 1994-1-1[3].
  2. Calculate the utilization factor as the (reduced) load at the fire limit state divided by the resistance at ambient temperature.
  3. Assess the critical temperature using Table NA.1 from the UK National Annex to BS EN 1993-1-2[4], requiring the non-dimensional slenderness and the utilization factor.
  4. Consult the fire protection manufacturer to determine a suitable protection thickness for the specific product to ensure the critical temperature is not exceeded.


Extensive advice can be found in NCCI: Design of reinforced concrete filled, hot finished structural steel hollow sections in fire (PN006a-GB).

Aesthetic finishes using thin film intumescent coatings

Because structural hollow sections are often chosen as a consequence of their superior aesthetic appearance, it follows that any applied fire protection will also be required to preserve an attractive finish. ASFP Technical Guidance Document 16[5] provides the following information on finishes for thin film intumescent coatings:

The quality of finishes falls under the following categories:

  1. Basic Finish The coating system achieves the required fire performance and corrosion protection performance, but is not required to achieve any requirement for standard of finish
  • Decorative Finish In addition to the requirements for (1) above, a good standard of cosmetic finish is generally required, when viewed from a distance of 5m. Minor orange peel or other texture resulting from application or localised repair is acceptable

  • Bespoke Finish In addition to the requirements for (2) above, the coating finish is required to have a standard of evenness, smoothness and gloss agreed between the Specifier and Contractor.

  • Application of thin film intumescent coatings for an aesthetic finish requires additional time and care over that required for non-aesthetic application. It is acknowledged that the skill of the applicator is a major factor in achieving an acceptable finish. Some applicators specialise in aesthetic application and it may be prudent to consult with the manufacturer for advice on this.

    Providing aesthetic finishes to thin film intumescent coatings can be particularly difficult when using off-site application. It can, and has, been done but offers particular problems, mainly due to the fact that off-site applied coatings inevitably require some repair. It is difficult to match the finish in areas that require repair with the finish in unaffected areas. The advice of the applicator should always be sought in these circumstances.

    References


    1. BS 5950-8: 2003, Structural use of steelwork in buildings. Code of practice for fire resistant design. BSI
    2. BS EN 1993-1-2:2005, Eurocode 3. Design of steel structures. General rules. Structural fire design. BSI
    3. BS EN 1994-1-1:2004. Design of composite steel and concrete structures. General rules and rules for buildings. BSI
    4. NA to BS EN 1993-1-2:2005, Eurocode 3. Design of steel structures. General rules. Structural fire design. BSI
    5. Association for Specialist Fire Protection Technical Guidance Document 16: 2010. Code of Practice for Off-site Applied Thin Film Intumescent Coatings